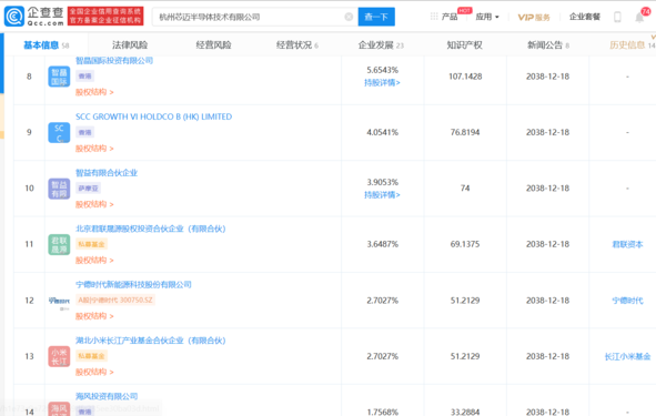
日前,杭州芯迈半导体技术有限公司发生工商变更,股东新增湖北小米长江产业基金合伙企业、宁德时代、海风投资有限公司、智晶国际投资有限公司等8家企业,注册资本由原来的1250万人民币增至约1894.88万人民币。

企查查App显示,杭州芯迈半导体技术有限公司成立于2019年9月,法定代表人为任远程,经营范围包括系统集成、集成电路及模块、电子产品的技术开发、技术服务、成果转让;集成电路芯片的生产(限分支机构经营)、测试、安装;电子产品、集成电路芯片的销售等。

值得注意的是,这家企业还曾出现在《杭州市2020年重点预备项目前期工作计划》(以下简称《计划》)中。《计划》中提到了芯迈参与的IDM模拟集成电路芯片生产线项目、青山湖科技城高端储存芯片产业化项目。
目前,该公司第一大股东为瓦森纳科技香港有限公司,持股比例为15.83%;宁德时代新能源科技股份有限公司和湖北小米长江产业基金合伙企业(有限合伙)分别持股2.7027%。
2022-12-20 / 57.5M

2022-12-20 / 91M

2022-12-20 / 12.9M

2022-12-20 / 19.6M

梦幻体操完整版(cirque du fantasy tour)
2022-12-20 / 112.0M

2022-12-20 / 42.2M

CopyRight © 2020-2025 www.howork.cn All Right Reser 好哇下载站鲁ICP备17017723号-4 免责申明
声明: 本站所有手机app软件和文章来自互联网 如有异议 请与本站联系删除 本站为非赢利性网站 不接受任何赞助和广告网站地图